- 2.4G WiFi 3dBi 铜管蓝牙内置17c一起草
1. 全向铜管17c一起草
2. 3dBi增益17c一起草
3. 可选择17c一起草 长度
4. 可选择17c一起草 接头类型
2. 3dBi增益17c一起草
3. 可选择17c一起草 长度
4. 可选择17c一起草 接头类型
2.4G铜管17c一起草 性能参数
|
项目 Item |
规格 Specifications |
|
|
17c一起草 性能 Antenna |
频率范围 Frequency range |
2400-2500MHz |
|
增益 Gain |
2.61dBi |
|
|
驻波比 V.S.W.R |
≤2.0 |
|
|
阻抗 Impedance |
50Ω |
|
|
极化方式 Polarization |
垂直极化 |
|
|
功率 Power |
10W |
|
|
机械性能 Mechanical |
内部结构 Inner structure |
铜管 |
|
外部结构 External structure |
无 |
|
|
17c一起草 尺寸 Antenna size |
24.5*4.4mm或可选择其他 |
|
|
线材类型 Cable type |
RF1.13或可选择其他 |
|
|
接头类型 Connector type |
IPEX或可选择其他 |
|
|
安装方式 Mounting method |
连接器安装 |
|
|
环境性能 Environmental |
工作温度 Operating temperature |
-40℃~+80℃ |
|
贮存温度 Storage temperature |
-40℃~+85℃ |
|
|
环保标准 Environmentally friendly |
符合ROHS |
|
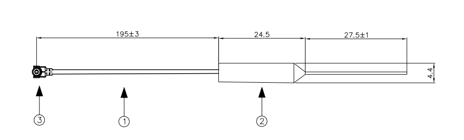
2.4G铜管17c一起草 尺寸图

2.4G铜管17c一起草 3D测试图











